炒股就看金麒麟分析师研报,权威,专业,及时,全面,助您挖掘潜力主题机会!
来源:宾曰语云
3月11日,关于“盈科律所老板融资担保暴雷,且已自首”的传闻在网上迅速发酵。
网传截图包括“盈科暴雷了”、“老梅拿着律师费去融资,还做了担保”、“目前40亿窟窿、已自首”等多项传闻细节。其中“老梅”指盈科律师事务所党委书记、主任、全球董事会主任梅向荣。
据红星资本局报道,3月11日中午,记者就此事拨打盈科律师事务所北京总部电话,接线人员表示,现在不方便做出任何回应和接受采访,后续会出公告。记者还拨打了盈科律师事务所网站发布的法律咨询热线,接线的是盈科长沙分所的工作人员,对于网传消息,其表示目前没有听说相关消息,并称整个盈科都归梅向荣管理。
另据界面新闻,记者致电北京盈科律师事务所总部,对方表示:“现在不方便接受任何采访和回应。”记者在采访中了解到,面对传闻,多名盈科管理层及合伙人在与业内人士私下交流中表示不便回应,但均未对传闻本身提出反驳。
据蓝鲸新闻报道,记者致电盈科律师事务所官网法律咨询电话进行核实,接线工作人员回应称,目前律所正常营业。随后,记者又拨打北京市盈科律师事务所总机电话,当问及相关传闻时,一位工作人员仅简短回应“假的”,随即便挂断电话。一位上海盈科律师事务所的工作人员告诉记者,盈科在全国各地的律所都是独立的,目前对我们没有影响,其他消息不知情。
此前,据21世纪经济报道,盈科律所针对传闻表示“不信谣、不传谣,盈科和之前一样经营正常,所里也没有发任何通知”。
由于律师数量庞大,盈科律师事务所在业内被称为“宇宙大所”。
官网显示,盈科律师事务所成立于2001年,总部位于北京。据其官网介绍,该所在中国大陆地区拥有127家律所及1家粤港澳联营律所,全国共计25200余名员工。自2022年以来,该所在Global 200全球律师人数排名中蝉联第一。
“盈科全球一小时法律服务生态圈”是其主打的发展模式。据官网介绍,截至目前,盈科全球法律服务网络已覆盖104个国家和地区的199个国际城市。在中国大陆地区设有127家分所及1家粤港澳联营所,盈科海外机构已覆盖46个国家的57个国际城市。

天眼查显示,北京市盈科律师事务所成立于2001年,注册资本1000万,负责人为梅向荣,是由资深律师组成的一家综合性律师事务所。业务范围包括诉讼及非诉讼两个方面,业务领域涉及金融、证券、保险、房地产、公司事务、知识产权、税收、外商投资、跨国特许经营、国际贸易、海商海事、移民法律业务及刑事、民事、行政等法律事务。
盈科律师事务所网站显示,梅向荣为该律所创始合伙人、主任,也曾是全球董事会主任。中国人民大学律师学院兼职教授、清华大学法学院法硕联合导师。1995年毕业于清华大学汽车工程系,2012年获北京大学光华管理学院高级管理人员工商管理硕士(EMBA)学位,2021年中国政法大学博士在读。
梅向荣自1996年起从事律师职业,1997年首创“律师代理购房”法律服务模式。2007年加入盈科律师事务所后,他推动该所执业律师从2007年的24人迅速发展到2011年的1600人,奠定了盈科规模化发展的基调。
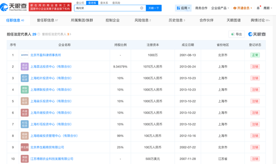
梅向荣除了律所业务外,还涉足汽车、地产等多个行业。他曾在29家公司担任法定代表人,35家公司担任股东。


包括上海荔远投资中心(有限合伙)、北京荣创嘉业投资管理有限公司、天津盈鼎房地产信息咨询有限公司等,其中大多为投资公司。
不过目前大部分公司已被注销,除了北京市盈科律师事务所外,仅剩下北京水木华清投资中心(有限合伙)、上海盈策投资管理中心(有限合伙)等5家公司。
据蓝鲸新闻报道,在一家名为北京向荣清能科技有限公司的投资记录中也出现了梅向荣的身影。公开资料显示,北京向荣清能汽车科技有限公司是一家专注于氢燃料智能商用车研发与生产的公司。
2021年12月31日,公司举行揭牌仪式并与鑫桥联合融资租赁签署100亿元融资租赁协议,推动氢能商用车应用。同时,公司与清华大学车辆与运载学院、亿华通科技等机构建立产学研合作,促进科技成果转化。

值得注意的是,据“盈科法律微观”公众号消息,就在三天前(3月8日),梅向荣出席了盈科北京“三八”妇女节主题活动并致辞。

梅向荣 图片来源:盈科法律微观(yingkezb)
另外,盈科法律微观在3月11日最新发布的推文中宣布,李景武将担任新一届盈科全球董事会主任。


此前该职务由梅向荣担任,此次人事调整也意味着,梅向荣不再担任盈科律师事务所全球董事会主任一职。盈科律师事务所在推文中并未提及梅向荣,仅表示,董事会成员本着公平、公正、公开的原则,有序开展董事会换届工作。
截至发稿,盈科律师事务所官方尚未就传闻发布任何正式声明,每日经济新闻将持续关注事件进展。