炒股就看金麒麟分析师研报,权威,专业,及时,全面,助您挖掘潜力主题机会!
来源 | 野马财经
作者|孙梦圆
自2017年,公司归母净利常年为负。
迪思传媒的“母公司”福石控股(300071.SZ)突然“塌房”。
2月1日,福石控股公告称,近日收到国家某监察委员会签发的留置通知书,公司实际控制人、董事长兼总经理陈永亮已被留置调查。
对此,福石控股回应称,公司本身未被要求协助调查,公司具备完善的组织架构和规范的治理体系,除涉事人员外,其他董事及高级管理人员均正常履职,公司控制权与董事会运作正常。目前,公司生产经营管理活动未受该事件的重大影响,一切保持正常运转。
受实控人留置的消息影响,2月2日公司股价大幅下挫,收盘报5.83元/股,单日跌幅达19.36%,截至2月4日收盘,股价报收6.29元/股,总市值60.63亿元。


“重整专业户”突遭留置
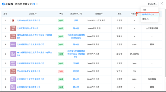
虽然此次留置原因不明,但据《中国基金报》报道,陈永亮在上市公司重整领域拥有较丰富的经验。他成功投资或服务落地了多家上市公司重整案例,包括华谊嘉信、豆神教育(维权)(300010.SZ)等,也因此被称为“重整专业户”。天眼查信息显示,陈永亮目前关联的存续企业尚有26家,任职企业的业务覆盖范围多为咨询调查、综合管理服务等。

图源:天眼查
1976年出生的陈永亮是律师出身,1996年9月至2012年1月,陈永亮任职于浙江海贸律师事务所,历任法律工作者、律师等职务。
2012年开始,陈永亮便开始了资本布局,他先是担任浙江福特资管(后更名为:浙江云喜福起科技)总经理,并于同年开始担任该公司董事长。2019年11月至2021年7月,陈永亮担任杭州福石资产(下称:“福石资产”)总经理。
2020年9月,华谊嘉信股东刘伟签署《表决权委托协议》,将其持有的约1.07亿股公司股份(占上市公司总股本的15.96%)的表决权全权委托给杭州福石资产管理有限公司(下称“杭州福石”)。该协议生效后,杭州福石成为华谊嘉信第一大股东,陈永亮也因此成为公司实际控制人,并于2020年11月30日起担任华谊嘉信(2022年重整后更名为“福石控股”)的董事长,自2021年7月26日起兼任总经理至今。
根据福石控股2024年年报,董事长兼总经理陈永亮当年从公司获得的税前报酬总额为132.95万元。
股权方面,陈永亮直接持有公司股份855.26万股,占公司总股本的0.89%。同时,他通过控股杭州福石资产管理有限公司(持股99.87%)及福石初喜(杭州)信息咨询有限公司(持股99.97%)等平台间接持有股份8811.42万股,总计持有约 0.97亿股。

图源:天眼查
2023年7月,陈永亮旗下的北京福石重整管理咨询有限公司(下称:福石重整)作为投资人,参与了豆神教育的重整。
2025年12月,据*ST宝实(000595.SZ )披露,陈永亮旗下的投资平台“北京云福宝实咨询合伙企业(有限合伙)”(下称“云福宝实”)通过司法拍卖,以9600万元的价格购得了ST宝实2000万股股票及孳息(即基于股份所派生的权益,如已宣派但未领取的现金分红)。此次拍卖的股份原为ST宝实第一大股东宝塔石化集团所持有,总计4000万股分为两个资产包出售,另一包由长沙湘江资产拍得。
公开信息显示,云福宝实成立于2025年12月4日,是陈永亮旗下的投资平台:由北京福石科技集团(持股80%)、北京福石重整企业管理有限公司(持股10%)和北京福石科技产业(持股10%)共同出资设立,而这三家公司的实际控制人均为陈永亮。
此外,陈永亮还曾现身*ST元成的股票拍卖中。公开信息显示,2025年4月,陈永亮以3.68元/股的价格拍得*ST元成680万股。不过,这家公司最终因为财务造假、欺诈发行的原因,于2025年12月5日退市。
看似活跃的资本布局背后,这位“重整专家”也有官司缠身。
2024年杭州市滨江区人民法院的一纸判决,揭开了陈永亮的借贷纠纷。根据(2024)浙0108民初3659号民事判决书,他在一起重大民间借贷纠纷中败诉,被判向原告沈某归还借款本金约1499.99万元,并需支付相应的高额利息、违约金及40万元律师费。其关联企业北京福石重整管理咨询有限公司对此承担连带清偿责任,而沈某则对该公司持有的豆神教育1303万余股股票享有质押权,可就处置所得优先受偿。

图源:罐头图库

9年累亏近15亿元
作为北京市首家重整成功上市公司的福石控股,始终未能走出业绩亏损的经营困境。
公司的前身华谊嘉信,原是一家专注于整合营销服务的公司,曾是国内内资企业中最大的线下营销服务供应商之一,其主营业务是为客户提供从营销策略、创意策划到执行管理的“一站式”营销服务。
2010年,华谊嘉信登陆深交所创业板,其业绩高点出现在2016年,当年营收与扣非后净利润分别达到34.53亿元和1.23亿元。然而,由于早前大肆举债并购扩张导致负债高企、现金流枯竭,叠加后续疫情影响,公司自2017年起扣非净利润便陷入连年亏损。2021年底重整完成后,公司于2022年7月更名为“福石控股”。
“改朝换代”之后,福石控股依然从事体验营销、公关广告、数字营销、内容营销、大数据营销服务等。公司的主要产品是体验营销、公关广告、数字营销等服务。据2025年业绩预报,公司子公司迪思传媒在全球权威公关行业咨询机构PRovokeMedia公布的2025年度全球公关机构排名(GlobalTop250PRAgencyRanking2025)中位列第25位。
2021年7月6日,福石控股曾高调宣布启动“元宇宙+新能源汽车”战略合作,进军元宇宙赛道。
重整之后,公司业务重心也显著向汽车行业倾斜,来自汽车行业的收入占比从2016年的26.06%大幅跃升至2024年的81.66%。这一高度集中的客户结构,使公司深度暴露于行业风险之中。
据2025年业绩预告,公司当期预计亏损6700万元至1.3亿元,比上年同期减亏0.4%至48.67%。但经营压力依然巨大。
对于业绩预亏的原因,福石控股解释称:“报告期内,公司主动收缩了业绩贡献不强的部分业务,新业务的拓展正在进行但其转化为订单和确认收入需要一定的时间;公司出于谨慎性原则,对于长期未回款的客户应收账款进行了信用减值的计提。”
更早一些,2025年前三季度,其营收同比下降超17%,归母净利润同比暴降近八成,已连续三期三季报业绩亏损。彼时,公司解释称,新业务转化为订单需要时间,且已对长期未回款的应收账款计提了信用减值。
事实上,福石控股自2017年起便陷入长期亏损困境,归母净利润常年为负。仅最近两年(2023年与2024年),其亏损额就分别达到-2145万元和-1.31亿元。若计入2025年预告亏损,公司截至2025年已连续9年亏损,累计亏损规模预计高达约-14.36亿元至-14.99亿元。
浙大城市学院副教授、中国城市专家智库委员会常务副秘书长林先平认为,福石控股长期巨额亏损的核心症结在于其2020年重整后业务转型失败与核心竞争力缺失,自身经营持续恶化;同时,其所依赖的“重整专业户”资本运作模式存在重对赌轻造血等先天缺陷,叠加客户集中、盲目跟风、内控失效等操作失误,最终导致模式全面失效,行业下行仅是放大了这些内在问题。

5亿补偿悬顶
不过,比业绩表现更棘手的,是重整时埋下“对赌”协议。
2021年11月15日,福石控股与控股股东福石资产签订了《重整投资协议》。根据协议,福石资产自愿承担业绩补足义务:承诺福石控股在2022年至2024年三个会计年度实现的扣非后净利润合计不低于3.6亿元。若未达标,差额部分将由福石资产在2024年年报公布后三个月内以现金方式向上市公司补足。
然而,重整后的发展远不及预期。公司表示,原计划的大规模业务重组与人员优化未能顺利实施,尽管为转型进行了多轮探索,但受内外部因素制约,重组困难重重,未能产生提质增效的成果。加之汽车行业周期影响,公司业绩持续恶化。
数据显示,2022年至2024年,福石控股扣非净利润连续为负,分别为-1531万元、-3510万元和-1.488亿元,三年累计亏损约2亿元,与承诺的3.6亿元净利润目标相去甚远。据此计算,福石资产需承担的现金补偿金额高达约5.59亿元(含承诺利润额与实亏额的差额)。
这笔巨额补偿的履行情况堪忧。2025年7月,福石控股公告称已多次督促控股股东履行业绩补偿义务。福石资产复函表示,已开始通过变现股票、清理质押、拓展融资等方式筹措资金。截至2025年9月22日,福石资产仅向公司支付了5000万元,尚有5.09亿元未能支付。福石资产直接持有的7572.5万股上市公司股票中,已有1909.1万股处于质押状态,其支付能力存在重大不确定性。公司已明确提示补偿款项不能全部到位的风险,并表示不排除通过诉讼及财产保全等司法途径追索。
为保障自身权益,福石控股持续采取措施以应对业绩补偿款回收的风险。
根据2026年1月16日的公告,实际控制人陈永亮及控股股东福石资产,已将其持有的合计占公司总股本5.32%的股份,主动质押给福石控股的全资子公司,作为尚未支付的业绩补偿款的履约担保。至此,陈永亮及福石资产方面所持公司股份的质押比例已超过80%。
上述公告同时披露了补偿款的支付进展:截至1月16日,福石资产已向上市公司支付业绩补偿款共计7120.39万元,但仍有高达4.88亿元款项尚未支付。公司指出,考虑到股价变动等不确定因素,存在补偿款无法全部到位的风险。目前,福石资产方面仍在努力通过各种渠道筹措资金,包括抵押或变现实控人及股东方持有的其他资产、拓展融资渠道等,以履行其补偿义务。
此外,天眼查显示,公司的法律纠纷不断。
据此前公告披露,截至2025年8月28日,福石控股及其子公司在连续十二个月内累计发生的未达披露标准的小额诉讼、仲裁事项涉及总金额已达512.72万元,占公司最近一期经审计净资产的3.56%。

图源:公司公告
低价收购与资本包装的“财技”,终究无法取代扎实的产业运营与持续的内生增长。如今,福石控股面临抉择:是继续依赖过往的资本叙事寻找下一个“故事”,还是痛定思痛,彻底重构其业务根基与盈利模式?